A Method and A Device for The Degradation of Aflatoxins Using Vacuum Ultraviolet Radiation | Project and Innovation Support
03/09/2025

A Method and A Device for The Degradation of Aflatoxins Using Vacuum Ultraviolet Radiation

Publication Number: EP4406420A1
Application Date: 26. 1. 2023
Assignee/Applicant: Jožef Stefan Institute [SI], Interkorn d.o.o.
Inventor: Recek Nina; Zaplotnik Rok; Primc Gregor; Vesel Alenka; Mozetic Miran; Gselman Peter
Title: A Method and A Device for The Degradation of Aflatoxins Using Vacuum Ultraviolet Radiation
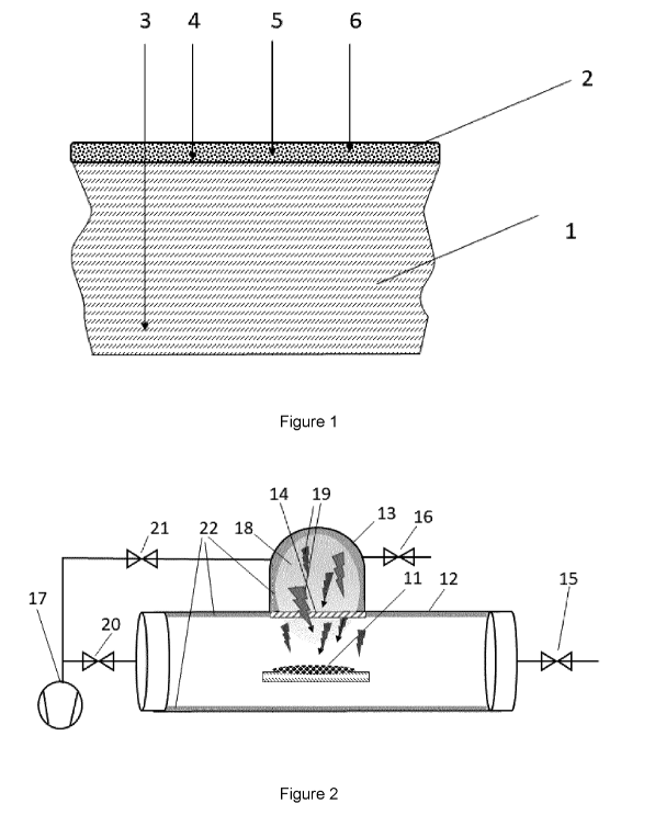
Description: The present invention relates to methods for destroying aflatoxins by irradiating the contaminated material with the VUV photons in the range of wavelengths from 100 to 170 nm. The irradiation is preferably performed upon vacuum conditions to enable rapid desorption of the low-weight residues formed upon bond scission in aflatoxins by VUV radiation. The methods of the invention are useful for the detoxification of food or feedstock.
Drawings:

Category: Physical Sciences
Technology application codes: Other industrial technologies, Physical and exact sciences, Measurements and standards
Market application codes: Industrial products, Other
www: https://worldwide.espacenet.com/patent/search/family/085132742/publication/EP4406420A1?q=pn%3DEP4406420A1
Patent offices: WIPO