A Method for Measuring Hadron Fluence with A Field Programmable Gate Array (FPGA)
| Publication Number: | EP4466558A1 |
| Application Date: | 18. 1. 2023 |
| Assignee/Applicant: | Jožef Stefan Institute [SI], Istituto Nazionale di Fisica Nucleare |
| Inventor: | Giordano Raffaele; Loffredo Filomena; Manti Lorenzo; Quarto Maria; Salvatore Marcella; Pestonik Rok; Lozar Andrej; Seljak Andrej |
| Title: | A Method for Measuring Hadron Fluence with A Field Programmable Gate Array (FPGA) |
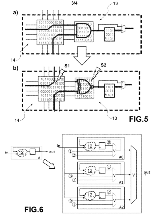
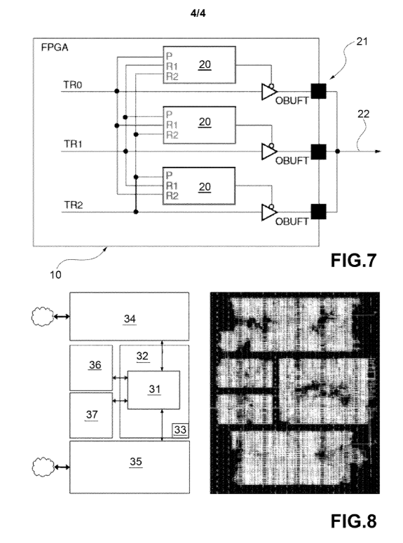
| Description: | Method for measuring hadron fluence with a Field Programmable Gate Array – FPGA (10), wherein the FPGA device (10) comprises a fabric of programmable logic resources, a configuration memory (11) based on Static Random Access Memory – SRAM, wherein the SRAM-based configuration memory (11) is susceptible of hadron-induced single event upsets (SEUs) by indirect ionization, the cross-section per SRAM of the SRAM-based configuration memory (11) having been determined for at least one given particle in an energy range of interest and supply voltage range of the FPGA; wherein the method comprises: determining the hadron fluence as a function of said cross-section and of the count of SEUs in the SRAM -based configuration memory (11) using a read-out logic implemented in the FPGA fabric. |
| Drawings: |
|
| Category: | Physical Sciences |
| Technology application codes: | Physical and exact sciences, Electronics, IT and telecoms |
| Market application codes: | Other electronics related |
| www: | https://worldwide.espacenet.com/patent/search/family/080933336/publication/EP4466558A1?q=pn%3DEP4466558A1 |
| Patent offices: | WIPO |
Extended patent application
| Publication Number: | IT202200000833A1 |
| Application Date: | 19. 1. 2022 |
| Assignee/Applicant: | Jožef Stefan Institute [SI], Istituto Nazionale di Fisica Nucleare |
| Inventor: | Giordano Raffaele; Loffredo Filomena; Manti Lorenzo; Quarto Maria; Salvatore Marcella; Pestonik Rok; Lozar Andrej; Seljak Andrej |
| Title: | A Method for Measuring Hadron Fluence with A Field Programmable Gate Array (FPGA) |
| www: | https://worldwide.espacenet.com/patent/search/family/080933336/publication/IT202200000833A1?q=pn%3DEP4466558A1 |
Extended patent application
| Publication Number: | WO2023139489A1 |
| Application Date: | 18. 1. 2023 |
| Assignee/Applicant: | Jožef Stefan Institute [SI], Istituto Nazionale di Fisica Nucleare |
| Inventor: | Giordano Raffaele; Loffredo Filomena; Manti Lorenzo; Quarto Maria; Salvatore Marcella; Pestonik Rok; Lozar Andrej; Seljak Andrej |
| Title: | A Method for Measuring Hadron Fluence with A Field Programmable Gate Array (FPGA) |
| www: | https://worldwide.espacenet.com/patent/search/family/080933336/publication/WO2023139489A1?q=pn%3DEP4466558A1 |




