A Quasi-passive Mechanism with Yield Modulation for a Prosthetic or Orthotic Joint
| Publication Number: |
US12312679B2 |
| Application Date: |
6. 1. 2023 |
| Assignee/Applicant: |
Jožef Stefan Institute [SI] |
| Inventor: |
Mišković Luka; Petrič Tadej; Dežman Miha |
| Title: |
A Quasi-passive Mechanism with Yield Modulation for a Prosthetic or Orthotic Joint |
| Description: |
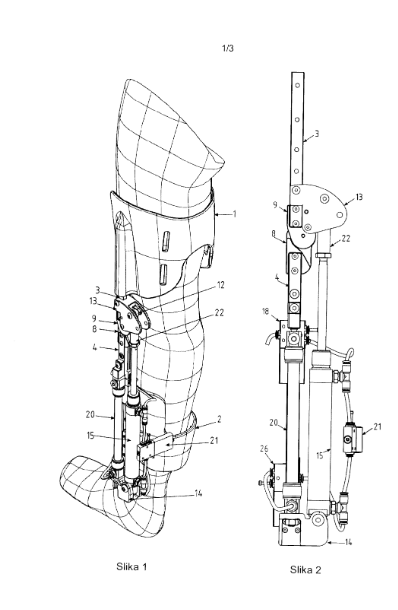
The invention is a quasi-passive mechanism with modulation of compliance for a prosthetic or orthotic joint, which allows for modulation of compliance to address the transferability of pneumatic actuators and forms a mechanism that can effectively relieve the human joint. The mechanism generates force in the pneumatic cylinder when the joint bends, compressing air in one chamber of the cylinder, while creating a vacuum in the other chamber. The uniqueness of the mechanism lies in the sequential mechanical connection of the pneumatic muscle, which radially expands and longitudinally contracts with increased pressure, thereby changing the effective length of the cylinder. The modulation of stiffness of the mechanism is consequently achieved by simultaneously changing the pressure in the pneumatic cylinder and the contraction of the length of the pneumatic muscle. The most significant innovation of the mechanism after the invention is that the change in pressure in the pneumatic muscle is achieved by compressing air in the cylinder and a suitable combination of opening and closing three pneumatic valves. As a result, the mechanism does not require an external source of compressed air. |
| Drawings: |
 |
| Category: |
Nanotechnology and New Materials |
| Technology application codes: |
Biological sciences |
| Market application codes: |
Medical / health related, Consumer related |
| www: |
https://worldwide.espacenet.com/patent/search/family/092107030/publication/SI26450A?q=pn%3DSI26450A |
| Patent offices: |
WIPO |