Device that Decreases the Risk of Injuries in the Fall of A Person, or their Consequences and Method for Decreasing the Risk of Injuries in the Fall of A Person, or their Consequences
| Publication Number: |
PL238370B1 |
| Application Date: |
13. 1. 2017 |
| Assignee/Applicant: |
Instytut Medycyny WSI IM. Wiltoda Chodzki, Politechnika Lubelska |
| Inventor: |
Saran Tomasz, Surtel Wojciech |
| Title: |
Device that Decreases the Risk of Injuries in the Fall of A Person, or their Consequences and Method for Decreasing the Risk of Injuries in the Fall of A Person, or their Consequences |
| Description: |
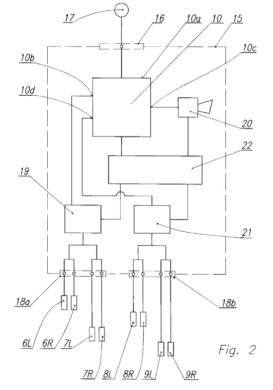
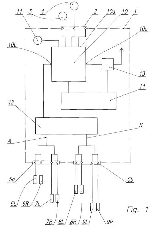
The device consists of a control module (1), to which accelerometric sensors (3, 4, 11) are connected to the input, while two groups of electrodes are connected to the output, the first group (6L, 6R, 7L, 7R) and the second group (8L, 8R, 9L, 9R). The control module (1) consists of a microprocessor (10), to the first output (10b) of which the generator (12) of electrical impulses is connected, and to the second output (10c) the transmitter (13). The generator (12) has two outputs, the first output (A) and the second output (B). The first group of electrodes (6L, 6R, 7L, 7R) is connected to the first output (A), and the second group of electrodes (8L, 8R, 9L, 9R) is connected to the second output (B) via the third strip (5b). It also revealed how to reduce the risk of injuries during a human fall or their consequences. |
| Drawings: |


|
| Category: |
Electronics, IT and Telecommunications |
| Technology application codes: |
Electronics, IT and telecoms |
| Market application codes: |
Communications, Computer related, Consumer related |
| www: |
https://worldwide.espacenet.com/patent/search/family/062836525/publication/PL238370B1?q=pn%3DPL238370B1 |
| Patent offices: |
WIPO |