Method for IN-Situ Synthesis and Deposition of Metal Oxide Nanoparticles with Atmospheric Pressure Plasma
| Publication Number: |
EP3960703C0 |
| Application Date: |
26. 8. 2020 |
| Assignee/Applicant: |
Jožef Stefan Institute [SI] |
| Inventor: |
Vasudevan Aswathy; Filipic Gregor; Zavasnik Janez; Cvelbar Uros |
| Title: |
Method for IN-Situ Synthesis and Deposition of Metal Oxide Nanoparticles with Atmospheric Pressure Plasma |
| Description: |
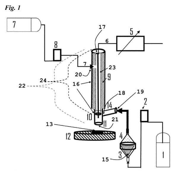
The present invention concerns a method for the in-situ synthesis of metal oxide nanoparticles, such as vanadium pentoxide nanoparticles, from metal oxide macropowder using atmospheric pressure plasma, followed by the direct deposition of said metal oxide nanoparticles onto the surface of materials of interest. |
| Drawings: |
 |
| Category: |
Physical Sciences |
| Technology application codes: |
Physical and exact sciences |
| Market application codes: |
Medical/ health related, Industrial products |
| www: |
https://worldwide.espacenet.com/patent/search/family/072243019/publication/EP3960703C0?q=pn%3DEP3960703A1 |
| Patent offices: |
WIPO |