Method for Manufacturing Segmented Permanent Magnets from Low-Grade Magnetically Hard Sintered Raw Material
| Publication Number: |
WO2023140753A1 |
| Application Date: |
17. 1. 2023 |
| Assignee/Applicant: |
Obshchestvo s Ogranichennoj Otvetstvennostyu “Ampermagnit” |
| Inventor: |
Alexander Mettalinovich Tishin |
| Title: |
Method for Manufacturing Segmented Permanent Magnets from Low-Grade Magnetically Hard Sintered Raw Material |
| Description: |
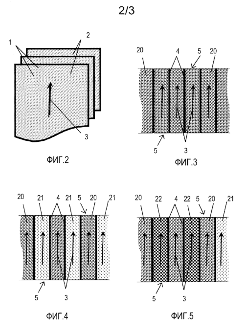
A method for treating low-grade magnetically hard sintered raw material for the manufacture of segmented permanent magnets (SPMs) includes carrying out primary sorting of specimens of raw material into groups according to geometric characteristics and external appearance, taking into account desired SPM parameters; obtaining sample measurements of magnetic, chemical and microstructural parameters and performing a HAST test to determine the possibility in principle of manufacturing an SPM; and manufacturing a pilot batch of SPMs, which includes cutting the specimens into parts having a set configuration, gluing the parts into a multi-layer stack, cutting and grinding the surface of the obtained multi-layer stack to a set size, and applying a protective coating to the surface of the obtained SPM. If the SPM does not meet the desired characteristics, the specimens of raw material are subjected to secondary sorting into sub-groups according to magnetic, chemical and microstructural parameters and, during manufacture, the arrangement and orientation of individual parts with different magnetic characteristics within the multi-layer stack under formation are additionally selected with a view to obtaining the desired overall magnetic characteristics. The result is the efficient treatment of recyclable material and a broadening of the range of semi-finished products. |
| Drawings: |


|
| Category: |
Nanotechnology and New Materials |
| Technology application codes: |
Physical and exact sciences, Measurements and standards, Industrial manufacturing, material and transport |
| Market application codes: |
Other electronics related, Industrial products |
| www: |
https://worldwide.espacenet.com/patent/search/family/087348656/publication/WO2023140753A1?q=pn%3DWO2023140753A1 |
| Patent offices: |
WIPO |