Unified System of a Heat Pump and An Insulated Waste Water Collector for The Utilization of Hydrothermal Energy Throughout The Year
| Publication Number: |
SI26345A |
| Application Date: |
19. 4. 2022 |
| Assignee/Applicant: |
Jožef Stefan Institute [SI], Energetika Maribor d.o.o. |
| Inventor: |
Matkovič Marko; Čižman Jure; Merše Stane; Staničić Damir; Rožman Miran; Germič Ljubo |
| Title: |
Unified System of a Heat Pump and An Insulated Waste Water Collector for The Utilization of Hydrothermal Energy Throughout The Year |
| Description: |
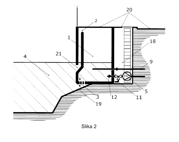
A unique system of heat pumps and an insulated drainage water collector for harnessing hydrothermal energy throughout the year using an aquifer (17) or another heat storage allows for year-round utilization of heat from the surface primary water body (4). When the temperature of the primary water body (4) is above the minimum temperature, the body serves as a heat source, and water is the transfer medium. At that time, water is pumped directly into the heat pump and the cooled water is returned to the insulated drainage water collector (1). From there, water returns to the surface primary water body (4) via an overflow (2) below the surface level. When the temperature of the primary water body (4) is too low, water is used solely as a transfer medium. At that point, water from the insulated drainage water collector (1) is pumped through a heat exchanger (7), which transfers heat from the aquifer into the heat pump. Water forms a loop in the insulated drainage water collector (1), which then primarily acts as an adiabatic reservoir for liquid water. In this way, during the winter operating mode, we do not cool the water in the drain water reservoir (1), but we do have the option to heat it. It is important that the available thermal capacity of the aquifer (17) and the thermal power of the compact heat exchanger (7) are adequately large. |
| Drawings: |

|
| Category: |
Physical Sciences |
| Technology application codes: |
Physical and exact sciences, Protecting man and environment |
| Market application codes: |
Energy, Industrial products, Other |
| www: |
https://worldwide.espacenet.com/patent/search/family/088506514/publication/SI26345A?q=SI202200056 |
| Patent offices: |
WIPO |